LAKQ U3

Cerradura industrial (cilindro perfil suizo)

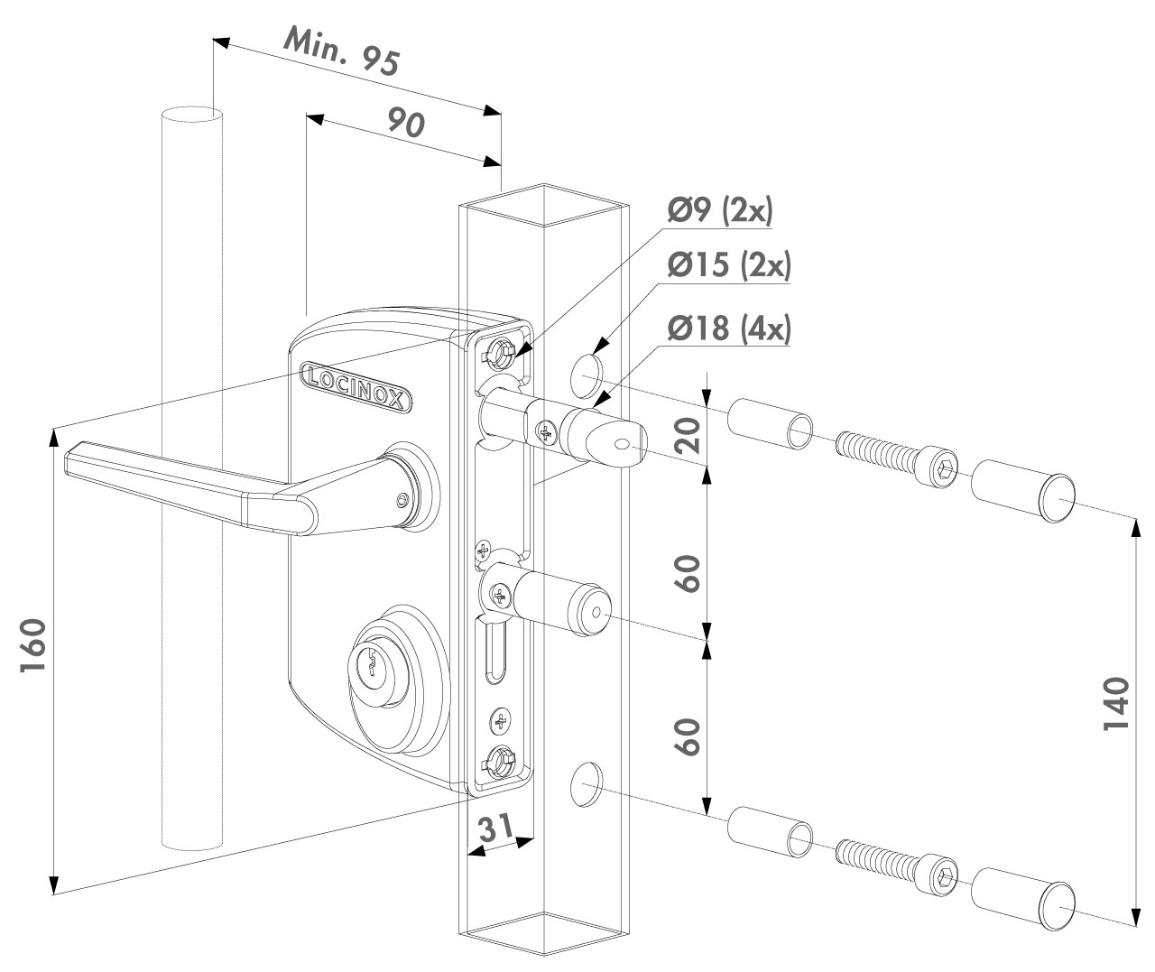
Cerradura industrial con carcasa de aluminio y mecanismo de acero inoxidable. Se suministra sin cilindro. Es ideal para un cilindro de Ø 22 mm (cilindro perfil suizo). El ajuste de 20 mm continuo de los pestillos le permite ajustar perfectamente su puerta para garantizar un cierre óptimo. El cierre de 23 mm de acero inoxidable garantiza un bloqueo seguro. Se suministra con un juego de manillas de aluminio.
  • Dimenciones  
  • Montaje en Poste